Основна інформація

Завідувач відділом:
чл.-кор. НАН України Олександр Вітольдович ДОЛБИН (професор, д.ф.-м.н.)

Відділ (лабораторія) теплових властивостей молекулярних кристалів був створений в 1962 р. З моменту створення відділу по 2007 рік його очолював академік (з 1990 р.) Національної академії наук України Вадим Григорійович МАНЖЕЛІЙ (1933-2013). З 2007 року по 2016 відділ очолював доктор фізико-математичних наук В'ячеслав Олександрович Контстантинов. Відділ був реорганізований в 2018 році шляхом об'єднання відділів: Теплових властивостей молекулярних кристалів та Структурних досліджень твердих тіл при низьких температурах.

Основні напрями наукової діяльності відділу:

Теплові властивості твердих тіл і наноструктур (фізика квантових макроскопічних явищ, квантові і кріокристали, низькотемпературна прецизійна дилатометрія; теплопровідність; теплоємність тощо);

Структурні властивості наносистем, молекулярних кристалів і гібридних матеріалів (фізика кристалічного і аморфного станів, фізика фазових перетворень, структурні дослідження новітніх матеріалів і кріокристалів, кінетика насичення газами наносистем, оптична спектроскопія тощо).

Властивості, що досліджуються:

Дослідження виконуються в інтервалі температур від 0.4 до 300 К і тисків до 8000 атм. Досліджуються теплоємність, теплоти фазових переходів, теплове розширення, стисливість, ізохорна і ізобарна теплопровідність, діелектрична проникність, конверсія, квантова дифузія (конфігураційна релаксація), сорбція і термостимульована десорбція газів наноматеріалами та наноструктурами.

Основна інформація(вгору)

Екcпериментально-методичні можливості відділу:

  • Комплекс для вимірювання теплового розширення твердих наноструктурних матеріалів та кріокристалів при низьких та наднизьких температурах Фізико-технічного інституту низьких температур ім. Б.І. Вєркіна НАН України: низькотемпературна дилатометрія для дослідження теплового розширення твердих тіл в інтервалі температур 1.2 – 300 К. Комплексу надано статус Національного надбання України постановою Кабінету міністрів України №1243 від 04.11.2022 р.;
  • низькотемпературна адіабатична калориметрія для дослідження теплоємності і теплових ефектів (2 - 300 K);
  • експериментальні методики для дослідження ізобарної теплопровідності і ізохорної теплопровідності (2 - 300 K);
  • методика дослідження діелектричної проникності;
  • методика синтезу оксиду графену;
  • методика обробки наноструктур високочастотним розрядом в газовому середовищі;
  • рентгенографічні дослідженя порошкових зразків в інтервалі температур від 2 К до кімнатної;
  • електронографічні дослідженя в інтервалі температур від 2 К до кімнатної;
  • дослідження спектрально-люмінесцентних властивостей об'єктів з малим квантовим виходом світіння в інтервалі (10 - 300 К);
  • вимірювання інтегральних спектрів люмінесценції та відносного квантового виходу світіння молекулярних кристалів в інтервалі 1.6 – 300 К.

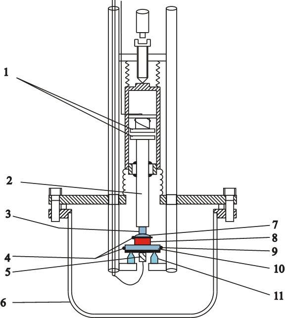
Комплекс для вимірювання теплового розширення твердих наноструктурних матеріалів та кріокристалів при низьких та наднизьких температурах Фізико-технічного інституту низьких температур ім. Б.І. Вєркіна НАН України

Комплексу надано статус Національного надбання України постановою Кабінету міністрів України №1243 від 04.11.2022 р. Низькотемпературний емністний дилатометр для дослідження теплового розширення твердих тіл в інтервалі температур 2 - 290 К показано на рис. нижче. Дилатометр розроблено у ФТІНТ ім. Б.І. Вєркіна НАН України, з роздільною здатністю 10-11 м, що дозволяє проводити прецизійні вимірювання лінійного коефіцієнта теплове розширення в досліджуваному діапазоні температур. Вимірювання теплового розширення дають інформацію про специфічні фазові переходи і квантові явища в твердих тілах [Low Temp. Phys.42, 788 (2016)].

Низькотемпературний десорбційний вакуумний газоаналізатор для визначення кількісного та якісного складу газів, які сорбовані наноструктурами. Дослідження сорбції і термостимульованої десорбції

До складу комплексу для вимірювання теплового розширення зі статусом Національного надбання України також входить низькотемпературний десорбційний вакуумний газоаналізатор для визначення кількісного та якісного складу газів, які сорбовані наноструктурами. Дослідження сорбції та десорбції газових домішок порошками наноматеріалів в інтервалі 2 - 290 К дозволяє аналізувати термоактиваційний і тунельний механізми сорбції. Такі вимірювання дозволяють виявити на дослідити процеси квантової дифузії (конфігураційної релаксації) газових домішок в наноматеріалах. Десорбційний вакуумний газоаналізатор має чутливість 10-7 моль.


Низькотемпературний експериментальний комплекс для дослідження ізобарної теплопровідності

Схему низькотемпературної комірки установки для вимірювання теплопровідності в інтервалі температур 2 - 300 K, зразків методом стаціонарного теплового потоку показано на рис. Вимірювальна комірка відокремлена від зовнішньої гелієвої ванни. [Instrum Exp Tech 48, 417–421 (2005)]. Цей унікальний низькотемпературний експериментальний комплекс для дослідження ізобарної теплопровідності розроблений у ФТІНТ ім. Б.І. Вєркіна НАН України має нову вимірювальну базу (термомертія LakeShore) та удосконалену систему автоматизації експерименту.


Ізохорна теплопровідністі


Ізохорна теплопровідність твердих тіл з різною щільністю вимірююється методом стаціонарного потоку [Instr. Exp. Tech. 42, 133 (1999)]. Камера високого тиску дозволяє виростити твердий зразок достатньої щільності з інертних газів та інших газоподібних або рідких матеріалів. Вимірювання в комірці з берилієвої бронзи дозволяє максимально допустимий тиск близько 800 МПа.



Рентгенівські дослідження


Рентгенівські дослідження зразків проводяться з використанням порошкового дифрактометру серії ДРОН. Структурні дослідження твердих тіл можна проводити в широкому температурному інтервалі – від гелієвих до кімнатних температур, що дозволяює визначати: морфологію зразків; мікро- та макродеформацію; області ближнього порядку та процеси, що протікають в зразках.



Адіабатичний калориметр

Адіабатичний калориметр дозволяє виконувати дослідження теплоємності наноматеріалів в діапазоні температур від 2 до 300 К. Калориметр розроблено у ФТІНТ ім. Б.І. Вєркіна НАН України. Адсорбційний насос відкачує пари гелію з гелієвої ванни, що дозвоняє отримати температуру 2 К в калориметричній комірці. Зразки наноматеріалів можна насичувати газовими домішками беспосередньо в вимірювальній комірці калориметра. Калориметрична комірка (див. рис. нижче) розміщена у вакуумній камері калориметра. Адіабатичні умови експерименту підтримують шляхом контролю температури адіабатичної ширми [Low Temp. Phys. 37, 424 (2011)].

Деякі принципові результати, отримані у відділі:

  • виявлення квантової дифузії в твердому дейтерії;
  • виявлення сильного зменшення перенесення гелію надтекучою плівкою на поверхні твердого пара-водню;
  • виявлення спін-ядерної конверсії дейтерометану в твердому розчині СD4- Kr при гелієвих температурах;
  • виявлення склоподібної поведінки слабких розчинів кріокристалів;
  • виявлення нових механізмів сильного впливу домішок на теплові властивості кристалів при низьких температурах;
  • виявлення від'ємного теплового розширення фулериту С60 при гелієвих температурах;
  • виявлення існування і взаємного перетворення різних орієнтаційних стекол в насиченому газами фулериті С60;
  • виявлення склоподібної поведінки теплопровідності клатратних газогідратів в широкому інтервалі температур (2 – 200 К);
  • виявлення квантової дифузії домішок He, H2, Ne в фулериті С60 при низьких температурах менше 80 К;
  • вперше виміряно коефіцієнт радіального теплового розширення нанотрубок і досліджені процеси просторового перерозподілу домішкових частинок на поверхні і всередині джгутів нанотрубок;
  • вперше експериментально досліджено теплоємність одновимірних (1D) ланцюжків атомів, отриманих шляхом адсорбції газів в канавках джгутів вуглецевих нанотрубок;
  • отримані пріоритетні результати з пластичних характеристик багатьох кріокристалів, включаючи квантовий кристал водню і твердий азот;
  • отримано доказ самовільного фазового розшарування в осаджених твердих сумішах водню і дейтерію;
  • виконані спільні структурні та люмінесцентні дослідження фулерита, насиченого газами, що дозволило не тільки виявити сильний ефект зміщення температури орієнтаційного склування Тg, але і пояснити природу різкої зміни інтегральної інтенсивності люмінесценції при проходженні точки Тg;
  • виконані рентгенівські і електронографічні дослідження структури різних кріосплавних систем, зокрема твердих сумішей найпростіших молекулярних компонентів з інертними газами з метою вивчення їх як молекулярних стекол;
  • пояснено аномальне (в 106 разів) прискорення конверсії в твердому водні при дуже високому тиску;
  • отримані два поліморфа кристалів пара-бромобензофенона і виконано порівняльне дослідження динаміки триплетних екситонів в них.

Співробітниками кафедри опубліковано понад 500 статей у референтних наукових виданнях. Співробітники кафедри є співавторами монографій та розділів:

  1. "Properties of Solid and Liquid Hydrogen. (In English, Jerusalem, Israel, 1971)
  2. "Cryocrystals". Ed. "Naukova Dumka", Kiev, 1983
  3. A.I. Belyaev, V.I. Silaev, Yu.E. Stetsenko / Flow-through cryostats for laboratory research / Kiev, Naukova Dumka, 1987 p. - 232 c.
  4. Yu.V.Naboykin, V.V. Samartsev, P.V. Zinoviev, N.B.Silaeva / Coherent spectroscopy of molecular crystals / Kiev, Naukova Dumka, 1986 p. - 204 c.
  5. "Properties of condensed phases of hydrogen and oxygen". Ed. "Naukova Dumka", Kiev, 1984 "Handbook of properties of condensed phases of hydrogen and oxygen". Hemisphere Publishing Corp., 1991
  6. V. A. Konstantinov, V. G. Manzhelii/ Review: Phonon scattering and heat transfer in simple molecular crystals, In Book: Lectures from the Winter School of Theor. Phys., 1993 Wroclaw, Poland, Plenum Press, New York and London, P. 321-333 (1994)
  7. "The Physics of Cryocrystals" (eds. Yu. A. Freiman, V. G. Manzhelii, M. L. Klein, and A. A. Maradudin) AIP Press, New York, 1996
  8. "Handbook of Binary Solution of Cryocrystals". Begell House Inc. New York,1997
  9. "Structure and thermodynamic properties of cryocrystals (handbook)" Begell House Inc., New York, 1999
  10. V.G.Manzhelii,A.I.Prokhvatilov, V.G.Gavrilko, A.P.Isakina. Handbook of Structure and Thermodynamic Properties of Cryocrystals. Begell House Inc., New York (1997), Wallinford (UK).
  11. "Structure and thermodynamic properties of cryocrystals (handbook)" Begell House Inc., New York, 1999.
  12. V. A. Konstantinov/ Review: Heat Transfer in Molecular Crystals, In Book: Heat Transfer -Theoretical Analysis, Experimental Investigations and Industrial Systems, Aziz Belmiloudi (Ed.), “InTech" Open Access Publisher, P.157-188 (2011)
  13. M.S. Barabashko, M.I. Bagatskii, V.V. Sumarokov/ Chapter 11. The heat capacity of nanotube bundles with 1D chains of gas adsorbates. In Nanotechnology in the Security Systems (pp. 121-130). Springer Netherlands (2015).
  14. A.I. Krivchikov, A. Jeżowski/ Chapter 3. A. Thermal Conductivity of Glasses and Disordered Crystals. Low-temperature Thermal And Vibrational Properties Of Disordered Solids: A Half-century Of Universal" Anomalies" Of Glasses, 2022, 69.

Наукова співпраця:

Активна наукова співпраця ведеться з наступними науковими центрами:

  • - Department of Experimental Physics, Umea University (Sweden)
  • - W. Trzebiatowski Institute of Low Temperature and Structure Research PAS (Poland)
  • - Universidad Autónoma de Madrid, Madrid (Spain)
  • - P. J. Šafárik University in Košice, Park Angelinum, Košice (Slovakia)
  • - Department of Chemistry & Research Centre for Thermal and Entropic Science, Graduate School of Science, Osaka University, Osaka (Japan)
  • - V. N. Karazin Kharkiv National University, Kharkiv (Ukraine)
  • - Institute of Physics, NAS of Ukraine, Kyiv (Ukraine)
  • - National Technical University “Kharkiv Polytechnic Institute”, Kharkiv (Ukraine)
  • - Universitat Politecnica de Catalunya, Barcelona (Spain)
  • - Lappeenranta-Lahti University of Technology LUT (Finland)
Основна інформація(вгору)

Новини про нагороди:

Колектив відділу №9 щиро та сердечно вітають к.ф.-м.н. Баснукаєву Р. М. з почесною відзнакою та нагородженням грамотою Президії НАН України та Ради молодих учених НАН України за активну участь у науковому житті та вагомі досягнення у 2025 році. Бажаємо подальших наукових звершень, натхнення, нових відкриттів і невичерпної енергії для реалізації найамбітніших ідей.